История создания (неоконченая)
Джордж Оруэлл. 1984
Единой версии изобретения бензопилы не существует, поэтому на роль первопроходцев претендуют многие из современных производителей данной техники. Мы не будем брать на себя роль судей и присваивать титул "Изобретатель бензопилы", а попробуем лишь проследить основные вехи развития, столь полезного и популярного ныне инструмента.

По сути своей, ручная бензопила является цепной пилой (chain saw) у которой режущий инструмент представляет собой замкнутую гибкую ленту собраную из небольших элементов с зубъями. Замкнутость ленты избавляет от необходимости реверсировать ход инструмента, что в конечном итоге приводит к увеличению производительности.
На картике слева, можно увидеть изображение цепной пилы, установленой на рельсы для распиливания больших стволов деревьев. Общий размер пилы можно оценить благодаря фигуре рабочего. Формально, данная пила выходит за рамки нашего исследования этапов развития ручных цепных пил, но весьма показательно что уже тогда (Обложка еженедельника "Scientific American" за 22 января 1910 года) цепные пилы имели вполне привычную нам шину (схема внизу обложки).
Однако, начнём с начала...
Самая ранняя обнаруженая контрукция цепой пилы была без шины. Патент на неё был выдан в США, 1 сентября 1885 года на имя Walter S. Shipe. (за основу работы взяты патенты выданные в США, это обусловлено тем, что именно американские патенты представлены в сети Интернет наиболее полно) В нём автор подробно описывал устройство и преимущества цепи и прелагал использовать в лошадь или паровую машину для приведения пилы в действие.

В дальнейшем, изобретатели уделяли значительное внимание конструкции звеньев цепи, способам соединения их друг с другом и передачи движения с с ведущего колеса на цепь. Зачастую, заявленное изобретение представляло из себя лишь цепь с колесом или шиной.
7 октября 1902 года, John Arthur Brines получает патент на перевозимую цепную пилу. Назывался патент "Sawing apparatus" и содержал описание весьма прогрессивного "аппаратуса".

За почти два десятилетия, прошедшие с 1885 года, цепная пила не только обрела мобильность, но и стала более универсальным инструментом. Так, если Вальтер Шайп предлагал использовать свою пилу для "валки деревьев и обрезки брёвен", то Джон Брайнс поставил задачей для собственного изобретения "поперечное разрезание брёвен и т.п., а также использование для других разнообразных целей, там где это может пригодиться".
Кроме того, новая пила сделала ещё один шаг по направлению к бензопиле. Если в 1885 года в качестве движущей силы предполагалось использовать лошадь или паровую машину, то в 1902 предлагалось использовать "мотор любого подходящего вида" (тёмный прямоугольник рядом с колёсами).
Прогресс не стоял на месте. Принцип современной бензопилы "одна пила - один человек" уже тогда манил изобретателей. В результате, 28 октября 1919 года, Ole J. Kendon плучает патент на ручную цепную пилу "которая может быть использована одним человеком".

Как видно из приложеного к патенту рисунка, пила Кендона была "ручной" во всех смыслах этого слова, потому как цепь приводилась в движение посредством вращающейся ручки.
Тем не менее, это уже полноценная портативная ручная цепная пила с традиционной сегодня шиной. Тут надо отметить, что разработчики цепных пил ещё долго пытались сделать цепную пилу на базе U-образной рамы. Вот например патент от 15 апреля 1930 года, выданный на имя Arthur Kuenne. В патенте автор предлагал контсрукцию ручной пилы которую можно перемещатьс места на место.

В патенте не указан тип мотора который предлагалось использовать, но как и в случае с "Sawing apparatus" возникает сомнение в наличие в те годы мощных и доступных моторов, которые бы соответствовали пропорциям на рисунках. Однако сейчас это уже не важно, ручные пилы с U-образной рамой проиграли более лёгким и удобным пилам с шиной.
Лошади и паровые машины, предложенные в 1885 года Вальтером Шайпом в качестве источника энергии цепной пилы ушли в прошлое вместе с 19 веком. К тому же, они врядли могли быть использованы в ручных пилах. Наступало время двигателей внутреннего сгорания и электромоторов. Результат патентного поиска приводит к парадоксальному результату: ручные цепные пилы с электромотором появились раньше бензомоторных аналогов. Возможно, это связано с тем что при использовании электромотора нет необходимости псоздавать топливную систему - протянуть электрический кабель гораздо заманчивей. Однако, между получением патента и созданием действующей пилы есть существенная разница, и потому мы не будем выносить окончательный приговор.
13 октября 1925 года был выдан патент (сама заявка была подана 22 ноября 1924 года) на имя Richard F. Boerner, в котором предлагалась конструкция "моторо-приводной цепной пилы".

Можно легко увидеть что компоновка пилы уже приближается к современой схеме. Данная пила не имеет никакой системы защиты оператора в случае аварии пилы и имеет ручку сомнительной удобности, но она уже имеет корпус в который убран двигатель и всё механика, при этом двигатель лежит вне плоскости шины, что позволяет уменьшить габаритные размеры пилы.
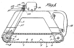
Удобство данной схемы ясно видно в сравнении с другой электропилой, патент на которую был выдан 30 декабря 1930 года на имя Knute Berg (заявка от 4 сентября 1928 года).

... На этом история обрывается. Данная статья не была закончена по причине новых открытий. Взамен неё была написана Бензопила - история создания. Вступление.

